Седло для папы, патент выдан в 2002 году

Для переноски младенцев существует огромное количество приспособлений. Это устройство предназначено для детей постарше, которые тоже любят кататься на своих отцах.
Жилет для выгуливания грызунов, патент выдан в 1999 году

Если вы так любите своего хомяка, что не хотите расставаться с ним, даже уходя из дома, то этот вариант наверняка придётся вам по душе.
Браслет для ношения мобильного и быстрого его использования, патент выдан в 2004 году

Что-то вроде старого трюка «пистолет в рукаве», но только с мобильным телефоном.
Защитный чехол для банана, патент выдан в 2003 году

Это устройство предназначено для хранения фрукта и призвано защищать его при транспортировке.
Шлем для орнитолога, патент выдан в 1999 году

Этот шлем создан для преодоления трудностей наблюдения за птицами. Изобретение поможет часами наблюдать за птицами и якобы не будет пугать их.
Человек-велосипед, патент выдан в 2004 году

Два колеса этого велосипеда соединяются человеческим телом.
Унитаз, который цепляется к прицепу, патент выдан в 2000 году

Все путешествующие на машине сталкиваются с проблемой отсутствия туалета, находясь в условиях дикой природы. Таким людям просто необходим перевозной унитаз!
Откровенные штаны, патент выдан в 2002 году

Изобретатели уверены, что эти отверстия на штанах повышают сексуальность и сообщают дополнительную информацию и владельце.
Дезодорант для тех, кто страдает от метеоризма, патент выдан в 2001 году

Дезодоратор «раскрывает подушку в нижнем белье человека, который страдает от газообразования». Трудно поверить, но кто-то от всей души благодарил изобретателя за такое гениальное решение «неоднозначных» проблем.
Очки,которые крепятся с помощью пирсинга, патент выдан в 2003 году

Бескаркасные очки, которые крепятся с помощью прокола переносицы.

Вот как это выглядит в реальности.
Разноцветные отпечатки детских поп как искусство, патент выдан в 2000

Родителям, которым недостаточно хранить отпечатки ручек своих отпрысков, предлагается вешать на стенку вот такие произведения искусства, изготовленные при помощи разноцветной краски и детских попочек.
Акваланг для животных, патент выдан в 2001 году

Иногда и ошейник на собаку не так-то легко одеть, а тут – акваланг!
Устройство для сбора упавших листьев, патент выдан в 2003 году

Между штанинами пришивается специальная сетка. Вы ходите в местах скопления упавших листьев, и улица становится чище – без всяких усилий. Красота!
Часы, показывающие оставшееся время жизни, патент выдан в 2002 году

Эти часы не дадут забыть о скоротечности жизни. Они ведут обратный отсчёт, исходя из средней вероятней продолжительности жизни.
Крутящийся рожок для мороженого, патент выдан в 1999 году

Изобретатель этого устройства решил облегчить задачу детям, которым приходится делать множество движений языком, слизывая мороженое слой за слоем.

Поводок для выгуливания змей, патент выдан в 2002 году

В описании говорится о проблеме, с которой сталкиваются владельцы змей: они не отваживаются выгуливать своих питомцев, потому что боятся их потерять. Специальный поводок должен решить эту проблему.

Такие дела.
Соска, которую невозможно выплюнуть, патент выдан в 2000 году

К сожалению, на такой товар может запросто найтись спрос. Наверняка найдутся родители или няньки, которые не выносят детского плача.
Стол с пуленепробиваемой столешницей, патент выдан в 2001 год

По идее изобретателя, такая столешница должна легко отделяться от стола, превращаясь в надёжный щит если какому-нибудь психопату придёт в голову пострелять в школе или в офисе.
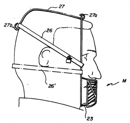
Маска для борьбы с обжорством, патент выдан в 1982 году

Это изобретение может пригодиться и в случае зомби-апокалипсиса.
Где-то мы это уже видели..
Защита наполовину

Шлем для занятий некоторыми видами деятельности, когда важна защита не всей головы, а ее части.
Ушные протекторы для животных

Скажите, у вас есть собака с длинными ушами? Если есть, скажите, вы кормите ее? Наверняка кормите, и тогда вы знаете, что еда «прилипает» к этим длинным ушам. Согласитесь, это серьезная проблема, с которой приходится все время бороться? Если не знаете, как решить ее, сообщите в вашу ветеринарную организацию и спросите у них это гениальное (запатентованное!) изобретение.



